Новости
О компании
Производители
Контакты
Личный кабинет
Новости
О компании
Производители
Контакты
Как заказать
Оплата
Доставка
Личный кабинет
(3812) 40-90-90, 40-90-09
ОПТОВЫЙ ОТДЕЛ
(3812) 40-99-99
МАГАЗИН
Как заказать
Оплата
Доставка
0
МОЯ КОРЗИНА
0,00
Р
СУММА ПОКУПКИ
Каталог товаров
Конструкторы и электронные модули
Детские конструкторы
Конструкторы
Модули 'МастерКит'
Модули системы 'умный дом'
Электронные модули, ARDUINO
Беспроводные компоненты
Антенны
Антенные переходники
Беспроводные модули
Готовые изделия
Корпуса, боксы
Макетные платы, перемычки
Промышленная автоматизация
Разное
Фонари
Диоды и тиристоры
Варикапы, варакторы
Выпрямительные мосты
Диоды ВЧ, СВЧ , туннельные
Диоды выпрямительные, импульсные
Диоды высоковольтные
Диоды защитные
Диоды прочие
Диоды силовые
Диоды Шоттки
Силовые модули
Стабилитроны
Тиристоры (SCR, Triacs)
Измерительные приборы
R/L/C измерители
Аксессуары
Амперметры
Виртуальные приборы
Вольтметры
Генераторы
Датчики BD Sensors
Измерительные панели
Манометры
Мультиметры
Омметры, мегаомметры
Осциллографы
Пирометры
Приборы прочие
Приборы СОНЭЛ
Тепловизоры
Термометры
Токовые клещи
Частотометры
Инструмент
Бокорезы, кусачки, стрипперы
Дрели, шуруповерты, насадки
Клещи обжимные
Магнитные инструменты и аксессуары
Наборы
Отвёртки, насадки (биты)
Пинцеты, захваты, инсерторы, экстракторы
Плоскогубцы, круглогубцы, утконосы
Прочие инструменты
Сверла, фрезы
Источники питания
AC/AC конвертеры
AC/DC источники питания
DC/AC инверторы
DC/DC преобразователи
Аккумуляторы
Аксессуары для источников питания
Батарейки
Блоки питания лабораторные
Зарядные устройства
Источники бесперебойного питания
Источники питания для LED освещения
Прочее
Сетевые адаптеры
Стабилизаторы
Кабели, провода, шнуры
Кабели, провода
Кабельные аксессуары
Шнуры
Коммутация
Переключатели
Разъемы
Реле
Конденсаторы
Ионисторы
Конденсаторы для подавления помех
Конденсаторы керамические
Конденсаторы переменной емкости
Конденсаторы пленочные
Конденсаторы прочие
Конденсаторы пусковые
Конденсаторы танталовые
Конденсаторы электролитические
Микросхемы
Аналоговые ключи и мультиплексоры
АЦП, ЦАП, преобразователи
Драйверы, ключи
Защита от замыкания
Интерфейсы
Логические микросхемы
Микроконтроллеры
Микросхемы для РЭА
Микросхемы обработки видео и звука
Микросхемы отечественные
Микросхемы памяти
Микросхемы программируемой логики
Микросхемы прочие
Микросхемы управления питанием
Радиочастотные микросхемы (RF)
Сигнальные процессоры (DSP)
Таймеры, тактовые генераторы
УНЧ
Усилители и компараторы
Паяльное оборудование
Вспомогательное оборудование
Запчасти к паяльному оборудованию
Паяльники газовые
Паяльники электрические
Паяльные ванны
Паяльные станции
Точечная сварка
Разное
Расходные материалы
Аэрозоли
Изолента
Клеи, смазки, растворители
Маркеры, чернила
Припои, паста паяльная
Прочее
Силиконовые, ПВХ трубки
Стеклотекстолит
Термоусадочные трубки
Флюсы, кислота, канифоль
Резисторы
Резисторы нелинейные
Резисторы переменные
Резисторы подстроечные
Резисторы постоянные
Светодиодные изделия, оптоэлектроника
Аксессуары для светодиодных изделий
ИК-диоды, фотодиоды, фототранзисторы
ИК-приёмники
Оптоволоконные компоненты
Оптопары
Светодиодные индикаторы
Светодиодные кластеры
Светодиодные лампы, светильники, комплекты подсветки
Светодиодные ленты
Светодиоды
Светодиоды в корпусе
Светодиоды мощные
Средства разработки и отладки
Программаторы
Средства разработки и отладки
Транзисторы
Транзисторы импортные
Транзисторы отечественные
Установочные
Батарейные отсеки, держатели батареек
Вентиляторы
Датчики
Двигатели
Замки
Звукоизлучатели, микрофоны
Индикаторы
Индуктивные компоненты
Кварцы, фильтры, осцилляторы
Компоненты подавления ЭМП
Крепеж, аксессуары
Лампы
Магниты
Предохранители
Прочее
Радиаторы, охладители
Разрядники
Светосигнальная арматура
Элементы пельтье
Электротехника
Phoenix Contact
Wago
Wieland
Автоматы и УЗО
Анализаторы качества электроэнергии
Лампы
Молниезащита
Прочее
Рубильники, переключатели нагрузки
Светильники
Трансформаторы
Электроника для освещения
СВЕРНУТЬ КАТАЛОГ
Главная страница
Коммутация
Реле
Реле герконовые
Реле /
Реле герконовые
(11)
Все
Аксессуары для реле
Реле герконовые
Реле прочие
Реле твердотельные, оптореле
Реле электромагнитные
сначала дешевые
сначала дорогие
А — Я
Я — А
Количество на странице:
15
50
100
Номинальное рабочее напряжение,В
5VDC
(
4
)
12VDC
(
3
)
24VDC
(
2
)
27VDC
(
2
)
Конфигурация контактов
1 замык. (1А, SPST)
(
7
)
1 перекл. (1С, SPDT)
(
2
)
2 замык. (2А, DPST)
(
2
)
Производитель
LTL(Littelfuse)
(
1
)
MEDER
(
3
)
TTi
(
4
)
Россия
(
3
)
Наличие
На складе
(
11
)
X
Найдено товаров:
Найти
Применить
Очистить
Код товара:
104169
РЕЛЕ DIP12-1A72-12L, DIP, , MEDER Реле герконовое, 12VDC, 0,5А, 1замыкание
Код товара:
104169
PDF
361,28
Р
за 1 шт.
На складе: 1
В корзину
Код товара:
104169
PDF
Код товара:
104180
РЕЛЕ DIP24-1C90-51L, DIP, , MEDER Реле герконовое, 24VDC
Код товара:
104180
PDF
816,68
Р
за 1 шт.
На складе: 1
В корзину
Код товара:
104180
PDF
Код товара:
104181
РЕЛЕ DIP24-2A72-21L, DIP, , MEDER Реле герконовое, 24VDC
Код товара:
104181
PDF
602,65
Р
за 1 шт.
На складе: 9
В корзину
Код товара:
104181
PDF
Код товара:
210444
РЕЛЕ HE721A1210 герконовое , [SPST-NO (1 Form A) без фиксации][500 мА][12 VDC], LTL(Littelfuse)
Код товара:
210444
PDF
1 240,00
Р
за 1 шт.
На складе: 2
В корзину
Код товара:
210444
PDF
Код товара:
118610
РЕЛЕ TRR-1A-05-F-00-R, SIP-4, , TTi герконовое SIP, 5VDC, 1А, 1замыкание
Код товара:
118610
PDF
235,00
Р
за 1 шт.
от 2 шт. - 215,00
Р
На складе: 1
В корзину
Код товара:
118610
PDF
Код товара:
118611
РЕЛЕ TRR-1A-05-S-00-R, , TTi Реле герконовое SMD, 5VDC, 1А, 1замыкание
Код товара:
118611
PDF
104,00
Р
за 1 шт.
от 3 шт. - 97,00
Р
от 5 шт. - 88,00
Р
На складе: 2
В корзину
Код товара:
118611
PDF
Код товара:
118618
РЕЛЕ TRR-1C-05-D-00, TTi Реле герконовое, 5VDC, 1А, 1переключение
Код товара:
118618
PDF
377,98
Р
за 1 шт.
На складе: 4
В корзину
Код товара:
118618
PDF
Код товара:
198287
РЕЛЕ TRR-2A-05-S-00-R, 5V / 1A / 19.6*6.9мм, TTi
Код товара:
198287
PDF
475,00
Р
за 1 шт.
На складе: 24
В корзину
Код товара:
198287
PDF
Код товара:
84996
РЕЛЕ РЭС42 РС4.569.151, '5' , Россия Размер: 30*13*21мм
Код товара:
84996
JPG
80,76
Р
за 1 шт.
от 10 шт. - 67,71
Р
от 50 шт. - 56,24
Р
На складе: 123
В корзину
Код товара:
84996
JPG
Код товара:
97789
РЕЛЕ РЭС64А 727, '1', Россия Реле герконовое, 27 В
Код товара:
97789
135,10
Р
за 1 шт.
На складе: 57
В корзину
Код товара:
97789
Код товара:
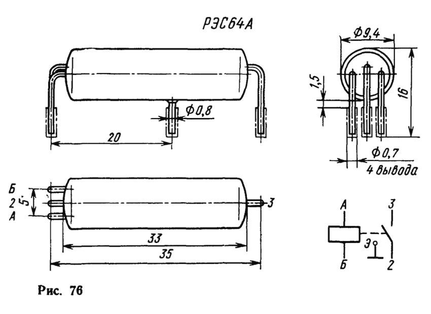
38125
РЕЛЕ РЭС64А РС4.569.727 , '5' , Россия Реле герконовое. Размер 35*10мм.
Код товара:
38125
PDF
JPG
139,66
Р
за 1 шт.
На складе: 54
В корзину
Код товара:
38125
PDF
JPG